




Toyota is exploring advanced electric vehicle designs, evident from recent patent filings that propose innovative layouts for battery and powertrain components. These concepts aim to redefine EV architecture, potentially leading to more versatile vehicle types and enhanced interior comfort. The patents underscore Toyota's commitment to pushing the boundaries of electric mobility, addressing current limitations in EV design to create more appealing and practical vehicles for the future.
Revolutionary Powertrain Integration for Enhanced EV Design
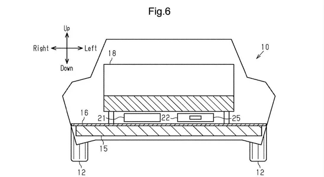
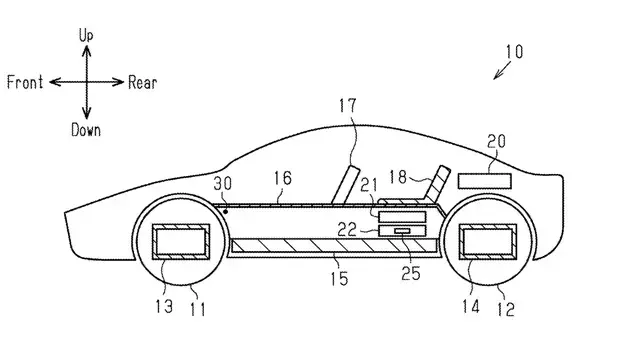
Toyota's latest patent disclosures reveal a forward-thinking strategy for electric vehicle development, concentrating on the clever relocation of powertrain elements. Unlike conventional EV designs where power control units and junction boxes are often directly affixed to the under-floor battery, these new patents suggest integrating these components into two distinct electromechanical units. These units would be strategically placed either at the front or rear of the battery pack, or within a central tunnel situated between the front seats. This innovative approach promises a significant reduction in the space required for the battery unit itself, thereby granting designers unprecedented freedom to create more spacious and adaptable interiors. This design flexibility is crucial for developing EVs that can appeal to a wider range of consumers by offering diverse body styles, including lower-slung sedans and hatchbacks, which traditionally face packaging challenges with bulky battery setups.
The patents, filed in 2025 and published in early 2026, delineate a vehicle configuration featuring two rows of seating, with the integrated electromechanical units housing the motor and electric power controller. This design paradigm not only opens up new possibilities for interior design but also hints at potential improvements in vehicle handling and safety by optimizing weight distribution and reducing the length of necessary cabling. The benefits extend beyond mere aesthetics; shorter cables could lead to weight savings and improved energy efficiency. While these patents do not guarantee immediate production, they offer a valuable glimpse into Toyota's long-term vision for electric vehicles, emphasizing a holistic approach to design that prioritizes passenger experience, driving dynamics, and structural integrity. This strategic re-evaluation of component placement could very well set a new benchmark for future EV architecture.
Rethinking EV Driving Dynamics: The Manual Shift Simulator and Beyond
Beyond innovative component placement, Toyota's patents delve into enhancing the driving experience, notably through the inclusion of a "manual gear shift simulator" for electric vehicles. This technology, which Toyota has previously showcased in a battery-powered Lexus UX prototype, aims to bridge the experiential gap between traditional internal combustion engine vehicles and EVs. By simulating the feel of manual gear changes, Toyota seeks to offer a more engaging and familiar driving experience, catering to enthusiasts who appreciate the tactile feedback and control associated with conventional transmissions. This demonstrates a broader effort by Toyota to not only improve the functional aspects of EVs, such as space and efficiency, but also to enrich the emotional connection drivers have with their electric cars.
Furthermore, the detailed patent descriptions highlight how altering the placement of various battery-related devices—such as positioning them below the second-row seat and above the battery—can significantly influence the vehicle's weight distribution. This meticulous attention to component location suggests that Toyota is keenly focused on fine-tuning the driving dynamics of its future EVs. An optimized weight distribution can lead to superior handling characteristics, greater stability, and a more responsive ride, directly impacting how the vehicle feels on the road. This holistic engineering approach, combining practical space-saving solutions with driver-centric innovations like the manual shift simulator, illustrates Toyota's ambition to create electric vehicles that are not only efficient and spacious but also exhilarating and enjoyable to drive, thereby addressing a comprehensive set of consumer preferences and advancing the overall EV landscape.
